Get Started
PTFE Lined Stainless Steel Gate Valve

Size Range:DN25-DN500

Pressure: PN16

Body Material:CF3M

Stem Material:WCB

Features: The body is solid and high quality. It can be used in food, medicine, chemicals, environmental protection, water treatment, water supply and drainage, etc

Get a Quote
Product advantages

1. Adopting precision casting process, the material performance of the valve body meets the national standards;

2. The valve body adopts the structure suitable for lining process requirements, and the valve body and inner parts in direct contact with the medium are all lined with fluorine plastic;

3.The seal is FEP/FEP or other material combination, small friction coefficient, low opening and closing moment;

4. PTFE packing has good sealing performance, easy maintenance and replacement;

5.  Elastic gate wedge can compensate the sealing surface deviation, with good sealing effect and zero leakage.

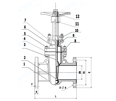
Parameters

图纸.png

Parameter Information:

1. Executive standard:

NameDesign and manufactureFace to face LengthPressure Test End  Flange 
Reference standardGB/T 12234GB/T 12221GB/T 13927HG/T 20592


2. Material of Main Parts:

NameBodyWedgeStemPacking Gland
MaterialCF3MWCB+FEPWCBPTFEWCB/CF8


3. Dimensions:

SIZE

DNNPSLΦDΦD1n-Φd
251''160115854-14
321  1/4''1801401004-18
401  1/2''2401501104-18
502''2501651254-18
652  1/2''2651851458-18
803''2802001608-18
1004''3002201808-18
1255''3252502108-18
1506''3502852408-22
2008''40034029512-22
25010''45040535512-26
30012''50046041012-26
35014''55052047016-26
40016''60058052516-30
45018''65064058520-30
50020''70071565020-33